文档详情

动火作业许可证流程图(安监部)(共3页)

des****85
实名认证
店铺
DOCX
16.79KB
约3页
文档ID:225541534
动火作业许可证流程图(安监部)(共3页)_第1页
1/3

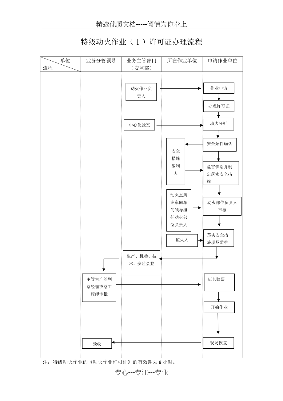
精选优质文档-----倾情为你奉上特级动火作业(Ⅰ)许可证办理流程单位流程业务分管领导业务主管部门(安监部)所在作业单位申请作业单位验收主管生产的副总经理或总工程师审批生产、机动、技术、安监会签动火作业负责人中心化验室动火点所在车间车间领导担任动火部位负责人安全措施编制人监火人现场恢复开始作业班长验票落实安全措施现场监护动火部位负责人审核危害识别并制定落实安全措施安全条件确认动火分析办理许可证作业申请注:特级动火作业的《动火作业许可证》的有效期为8小时一级动火作业(Ⅱ)许可证办理流程单位流程业务分管领导业务主管部门(安监部)所在作业单位申请作业单位验收安监部审批生产、机动、技术、安监会签动火作业负责人中心化验室监火人动火点所在车间车间领导担任动火部位负责人安全措施编制人现场恢复开始作业班长验票落实安全措施现场监护动火部位负责人审核危害识别并制定落实安全措施安全条件确认动火分析办理许可证作业申请注:一级动火作业的《动火作业许可证》的有效期为8小时二级动火作业(Ⅲ)许可证办理流程单位流程业务分管领导业务主管部门(安监部)所在作业单位申请作业单位动火作业负责人中心化验室验收动火地点所在车间负责人动火点所在车间技术、管理人员担任动火部位负责人监火人安全措施编制人班长验票开始作业审批现场恢复落实安全措施现场监护动火部位负责人审核危害识别并制定落实安全措施安全条件确认动火分析办理许可证作业申请注:二级动火作业的《动火作业许可证》的有效期为72小时。

专心---专注---专业。

下载提示
相似文档
正为您匹配相似的精品文档
相关文档