文档详情

图书馆大数据流图.docx

枫**
实名认证
店铺
DOCX
333.86KB
约10页
文档ID:551009924
图书馆大数据流图.docx_第1页
1/10

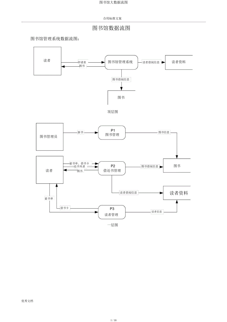
图书馆大数据流图合用标准文案图书馆数据流图图书馆管理系统数据流图:读者申请表图书馆管理系统读者借阅信息读者资料图书图书借阅信息图书顶层图新书P1图书信息图书管理图书管理员索书单、借书卡P2图书读者还书央求图书借阅信息图书借还书管理 / 索书单借书卡读者借阅信息 读者资料P3读者信息读者管理一层图优秀文档合用标准文案图书管理员新书新书登记数据流 10 保护图书基本信息数据流8 剔除旧书P1 的分解图书信息数据流 11 图书数据流9预约央求预约预约信息 预约登记表撤掉预约撤掉预约央求读者预约情况读者索书单、借书卡读者借阅信息读者资料图书 借书还书央求还书图书借阅信息归还信息 图书借阅情况续借央求续借借阅信息新的到期日P2 的分解优秀文档合用标准文案读者资料核查读者身份非法读者合法借书卡违规情况读者借阅信息索书单、借书卡核查读者无违规检查读者违规情况借书限额限额内违规处罚通知读者额度已满通知 图书预约信息检查预约记录预约情况预约登记表图书图书登记借阅情况 图书借阅信息借书卡读者 索书单补办申请表毕业登记表P2.3 的分解读者信息办理新卡 新卡号 读者资料挂失补办读者借阅情况、违规情况数据流3离校办理P3 的分解优秀文档合用标准文案ER图:此图存在诸多不足,如读者和图书的关系应该是多对多,也许将借书单与图书关系,而图书管理员与读者借书规则和图书借阅限时不应建立关系。

优秀文档合用标准文案或(用 visio 完成 DFD ):DFD 总观:优秀文档合用标准文案图书馆管理系统顶层进度:将图书馆的业务综合作成一个图书馆管理系统,对图书馆的进行综合管理优秀文档合用标准文案图书馆管理系统第一层:图书馆管理系统张开为:P1 借书证管理系统,来管理图书证、 IC 卡、 临时证、馆际互借证、校外集体证、联合体借阅证将读者资料录入数据库中P2离校注销系统, 来管理读者走开学校时自动判断可否有书未还,并做相应处罚, 注销读者资料P3图书借阅系统, 来总管图书借阅、 续借、预约、催还、违规处罚、新增书目的录入等优秀文档合用标准文案P1 借书证管理系统张开为:P1.1 办理新证 主要管理新读者资料的入库P1.2 挂失管理 主要管理读者借书证的挂失 ,并将起标记在读者资料上 ,在此期间读者不能借书 .P3 图书借阅系统张开为 : 图书管理系统 管理图书资料入库及读者对图书的盘问央求 . 借书管理 管理读者借阅书籍 .并登记入库 . 续借管理 管理读者的续借央求 . 预约管理 管理读者的预约央求 处罚管理 管理逾期时生成罚款单 ,丢掉机纪录赔偿金额 .P3.6 催还管理 管理有预约央求的图书的催还 .优秀文档合用标准文案优秀文档合用标准文案P3.2 借书管理张开为 : 状态认证 对提出借书央求的读者进行身份及状态认证 ,判断其可否借书 . 出借管理 对出借图书进行管理 ,将出借信息纪录 .优秀文档。

下载提示
相似文档
正为您匹配相似的精品文档