文档详情

废旧金属可再生利用生产工艺概况及流程x

大米
实名认证
店铺
DOCX
300.92KB
约5页
文档ID:511013521
废旧金属可再生利用生产工艺概况及流程x_第1页
1/5

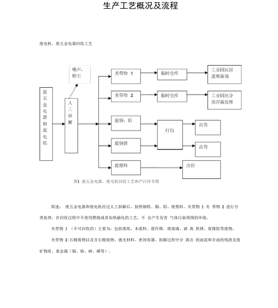
生产工艺概况及流程废电机、废五金电器回收工艺图1 废五金电器、废屯机回收工艺和产污环节图简述: 废五金电器和废电机经过人工拆解后,按照钢铁、铜、铝、废塑料、夹带物 1 夹 带物 2 进行分类处理在回收过程中不使用燃烧或者加热融化的工艺,不 会产生有害 气体污染周围的环境夹带物 1 (不可回收的)主要为:包括废纸、木废料、废纤维、废玻璃、剥 离 铁锈、废橡胶等废物夹带物 2:石棉废物以及含石棉废物、感光材料、密闭容器、拆解过程中分 离出 的油泥和含油的残渣及废矿物质、重金属(镉、铬、砷、硒等)废覆铜板回收工艺废水水水铜粉脱水出售夹夹带铜粉粗渣物物2沉渣沉渣循环回用丁园区固 废堆场一、二级破 碎和一、二 级摇床工序噪声—一沉渣池废水淀池图2覆铜板回收工艺和产污环节图噪声、粉尘覆铜板人 I〕分选一级粗破亠三级沉 —► 淀池固废临时贮存摇床二级分选树脂玻纤粉一级细破 J摇床_级分选泵 池简述:废覆铜板首先经人工分拣,分拣出来的原料经过破碎机进行一级粗破,粗破 后粒 径三1・5cm,然后通过密闭的输送带进入二级细破,使之成为粒径三0・2mm的碎料;粗 破过程加少量水,减少粉尘的产生,粗破机选用较先进的设备,加料 口处配有软塑料 挡板,破碎机上方配有防护罩,大大减少粉尘的产生,二级细破 过程中持续加水,使 碎料与水形成浆料,浆料进入泵池,泵入摇床进行一级分选, 在震动和重力的作用 下,铜颗粒和树脂粉分离,摇床分选出来的铜颗粒经脱水、 人工包装,待处售;树脂 粉进入摇床进一步分选,分选出的铜粉脱水、人工包装, 待出售;少量粗渣进入二级 细破重新粉碎,分选出含树脂玻纤粉的废水进入沉渣 池,沉渣池下方以斜坡设计,低 的一侧设挡板,挡板上有麻袋,树脂玻纤粉为疏 水性物质,水分从挡板的麻袋缝隙流 出,废水进入三级沉淀池处理,树脂玻纤粉 则被拦截在沉渣池收集,设有 3 个沉渣 池轮流使用;废水通过排水沟进入三级沉 淀池,经过两次三级沉淀池处理后,水循环 使用,无废水排放;沉淀池的沉渣为 树脂玻纤粉,定期人工捞起进入沉渣池。

夹带物 1 按一般工业固废处理,夹带物 2 按危废处理夹带物 1:包括废纸、木废料、废纤维、废玻璃、剥离铁锈、废橡胶等废物 夹 带物 2:石棉废物以及含石棉废物、感光材料、密闭容器、拆解过程中分 离出的油泥 和含油的残渣及废矿物质、重金属(镉、铬、砷、铅等) 废电线电缆回收工艺夹带物废电手出售匚电分拣粉尘废銅风振力分废塑料出售筛选塑料淀沉池废水噪声水晾干废铜、铝#临时仓库一出售袋式收尘*塑料颗粒>废塑料•夹带物2临时仓库>园区固废堆场处理噪声・粉尘泵池▼収卜基铜来机出售0,3mm线电缆袋式收尘粉Q铜粉、大塑料颗粒图3废电线电缆冋收匸艺和产污坏节图*园区固废堆场处理0.3-0.8mm 电线电缆 1铜米机噪声▼ y—*摇床分选*废塑料噪声0.8mm以上——二— 屯线电缆―► 剥线机简述:废电线及电缆首先进行人工分拣,0.8m m以上的电线及电缆及以回收铝为主的所有电线电缆可以直接用剥线机拆解,剥离外面的塑料皮,抽出里面的铜线、铝线0. 3mm~0・8 m啲电线电缆(回收铜为主)可以用铜米机切粒破碎,再经风力气流分选,密度大的铜粉和颗粒大的塑料颗粒在风力的作用下与细颗粒的塑料分 开, 细颗粒塑料由布袋收集,布袋为密封状态;铜粉和直径大的颗粒物在通过气 流管道, 进入振动筛。

振动筛采用重力分离的方法,进一步的分离铜粉和直径大 的塑料颗粒 物该部分的电线电缆约占以回收铜为主的电线电缆总量的 8%0.3mm 以下的电线及电缆(回收铜为主)约为 5%进入铜米机打碎后再经摇床 水 选分离出铜米和塑料细粒,摇床废水经三级沉淀池后循环回用,沉渣一般为泥 砂以及 少量塑料粉等铜线、铝线、铜米和塑料分别包装后待出售夹带物 1 按一般工业固废处理,夹带物 2 按危险废物处理夹带物 1 主要 为: 包括废纸、木废料、废玻璃、剥离铁锈等夹带物 2:石棉废物或者含石棉的废物,感光材料、密闭容器、重金属(镉、 铬、铅、锌等)。

下载提示
相似文档
正为您匹配相似的精品文档