文档详情

轧机支撑辊与工作辊交叉产生轴向力分析

鲁**
实名认证
店铺
DOCX
214.41KB
约4页
文档ID:495433959
轧机支撑辊与工作辊交叉产生轴向力分析_第1页
1/4

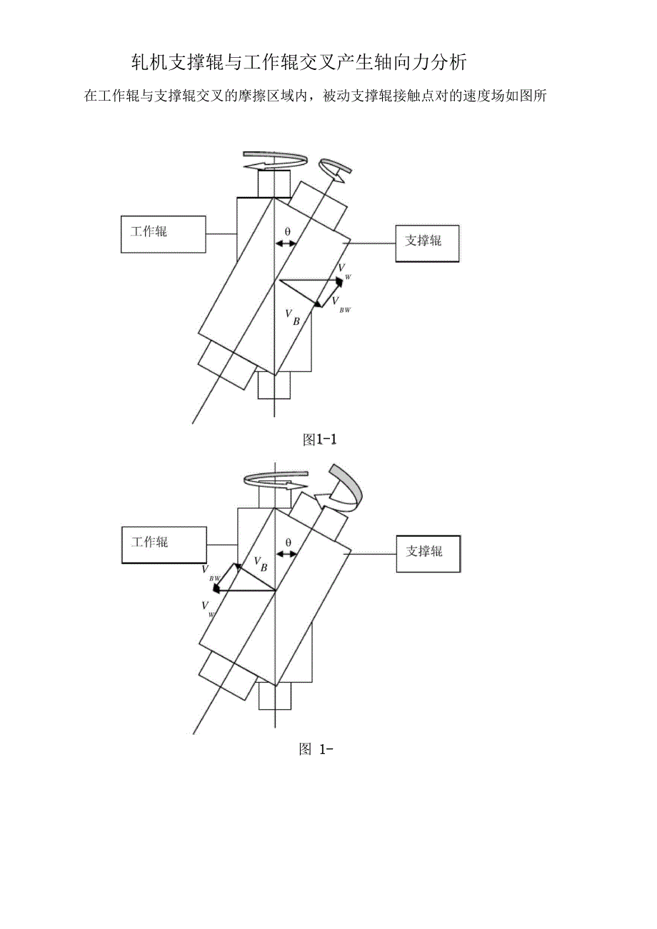
轧机支撑辊与工作辊交叉产生轴向力分析在工作辊与支撑辊交叉的摩擦区域内,被动支撑辊接触点对的速度场如图所图图 1-21-10VVVbw工作辊支撑辊图 1-3图 1-4 如图所示,支撑辊辊面的线速度等于工作辊面线速度在支撑辊垂直方向上的 投影,计算公式如下:V = V • cos 0BW式中Vb为支撑辊辊面的线速度;Vw为工作辊辊面线速度;0为交叉角由于工作辊和支撑辊的交叉,辊面接触摩擦力使支撑辊相对于工作辊做螺旋 运动,作用于支撑辊的轴向力与V矢量同向BW不考虑其他因素,由两辊面平衡原理,获得支撑辊轴向力F = F = I P I sin 9a BW式中P为轧制力,卩为摩擦系数;9为交叉角工作辊的轴向力,由支撑辊的轴向力平衡力系求出,方向必然与支撑辊轴向 力相反针对现场在入口往出口轧时辊子朝外窜动,出口往入口轧时辊子朝内走;结 合图 1-1,图 1-2,图 1-3,图 1-4 可看出,入口往出口轧时是图 1-1 所描述的情 况,出口往入口轧时是图1-2 所描述的情况而我们在现场也发现,当入口往出 口轧时,轴向窜动力比较大,说明9 角比较大,当出口往入口轧是,轴向窜动力 要小,说明9 角在减小。

再结合上次我们测量的间隙数据可知,刚好是和现场实 际情况相吻合的假设支撑辊实际轴线与与理论轴线未发生交叉,那么结合上面的分析可知工 作辊的轴线如图 1-5 所示:图 1-5从现场轧制的板型以及现场窜动情况来看,这和实际是相符合的结合“偏 心距理论”可知,本身我们的轧机设计是工作辊相对支撑辊轴线在出口方向偏移10mm,理论上来说,当入口往出口轧制时,由于偏心距的存在,钢板对工作辊 必然会产生一个沿轧制方向的力,使工作辊轴承座上的耐磨板 5 与耐磨板1 贴合, 耐磨板6与耐磨板2贴合如果两边耐磨板磨损量一样的话,仅仅是工作辊的轴 线发生平移,并不会发生交叉但从现场的实际情况来看,确实发生了交叉,这 说明耐磨板1 远比耐磨3要磨损的剧烈一些,所以我们要对耐磨板1 或者耐磨板 5进行加垫,以补偿其磨损量同理分析出口往入口轧的情况,我们可得知耐磨 板4要比耐磨板2磨损的剧烈一些,所以我们应对耐磨板4或者耐磨板8加垫 根据分析可知,要想控制操作侧往传动侧的窜动量,需要控制入口这四块耐磨板 之间的间隙;要控制传动侧往操作侧的窜动量,需要控制出口这四块耐磨板之间 的间隙之前我们已经在耐磨板5及耐磨板8底下各加了 1mm的垫片,发现传动侧 往操作侧的窜动量比较小,但是操作侧往传动侧的窜动量比较大,最大达到 15mm (轧8mm薄板的时候)。

下一步准备加大入口操作侧轴承座上垫的厚度, 准备将其由原来的1mm加至1.5mm,观察工作辊道窜动情况。

下载提示
相似文档
正为您匹配相似的精品文档