文档详情

三菱PLC和变频器通信程序(注释)2

飞****9
实名认证
店铺
PDF
44.82KB
约13页
文档ID:150429162
三菱PLC和变频器通信程序(注释)2_第1页
1/13

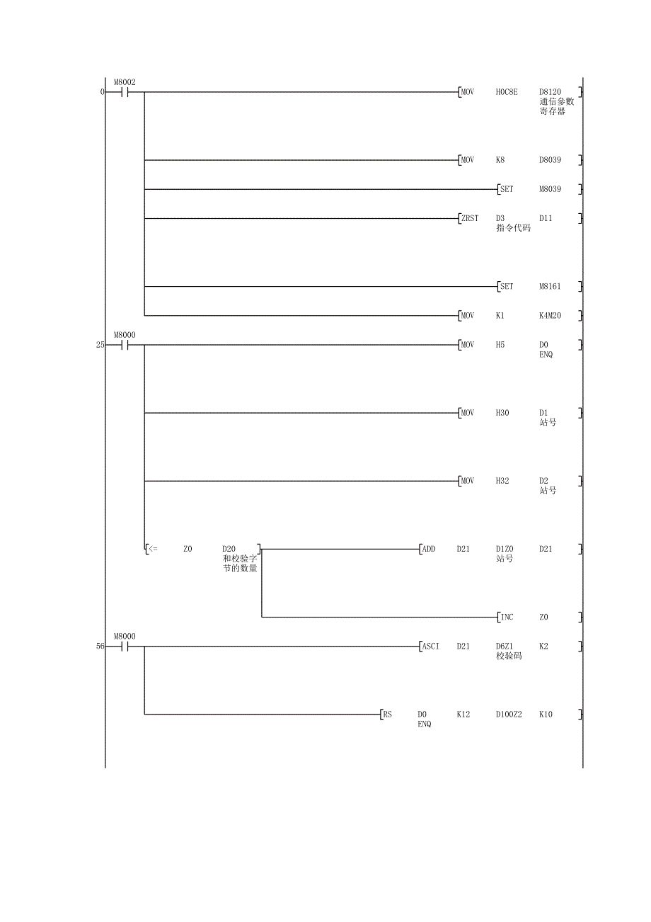
0 M8002 MOVH0C8ED8120 通信參數 寄存器 MOVK8D8039 SETM8039 ZRSTD3 指令代码 D11 SETM8161 MOVK1K4M20 25 M8000 MOVH5D0 ENQ MOVH30D1 站号 MOVH32D2 站号 K2M10 变频器正 转 K0RSTC0 MOVK1K4M20 85 M8011 M11 变频器反 转 M12 变频器停 止 M14 频率1写入 变频器 M10 变频器正 转 M13 加速时间 设置 M15 减速时间 设置 C0 ROLPK4M20K1 K3 C0 M28 MOVPK1K4M20 112 M21 PLSM36 115 M22 PLFM36 118 M23 PLSM37 121 M24 PLFM37 124 M25 PLSM38 127 M26 PLFM38 130 M10 变频器正 转 SETM1 M11 变频器反 转 MOVK0Z2 M12 变频器停 止 142 M1 MOVH46D3 指令代码 MOVH41D4 指令代码 MOVH30D5 等侍时间 MOVH30D6 校验码 RSTZ0 MOVK6D20 和校验字 节的数量 MOVK2Z1 MOVK0D21 182 M10 变频器正 转 MOVH32D7 数据 189 M11 变频器反 转 MOVH34D7 数据 196 M12 变频器停 止 MOVH30D7 数据 203 M36 MOVH36D3 指令代码 MOVH46D4 指令代码 MOVH30D5 等侍时间 RSTZ0 MOVK4D20 和校验字 节的数量 MOVK0Z1 RSTD21 MOVK10Z2 241 M37 MOVH37D3 指令代码 MOVH30D4 指令代码 MOVH30D5 等侍时间 RSTZ0 MOVK4D20 和校验字 节的数量 MOVK0Z1 RSTD21 MOVK20Z2 279 M38 MOVH37D3 指令代码 MOVH41D4 指令代码 MOVH30D5 等侍时间 RSTZ0 MOVK4D20 和校验字 节的数量 MOVK0Z1 RSTD21 MOVK30Z2 317 M14 频率1写入 变频器 MOVK0Z2 M13 加速时间 设置 M16 频率2写入 变频器 M17 频率3写入 变频器 M15 减速时间 设置 332 M13 加速时间 设置 MOVH38D3 指令代码 MOVH37D4 指令代码 MOVH30D5 等侍时间 ASCID151 加速時間 設置 D6 校验码 K4 RSTZ0 MOVK8D20 和校验字 节的数量 MOVK4Z1 RSTD21 372 M15 减速时间 设置 MOVH38D3 指令代码 MOVH38D4 指令代码 MOVH30D5 等侍时间 ASCID152D6 校验码 K4 RSTZ0 MOVK8D20 和校验字 节的数量 MOVK4Z1 RSTD21 412 M200 M17 频率3写入 变频器 M16 频率2写入 变频器 M14 频率1写入 变频器 K5 T10 419 T10 DINCPD153 RSTT10 427D=D153H178E M12 变频器停 止 M201 RSTM200 K4 T5 T5 DMOVK0D153 452D=D153H5 T2 M17 频率3写入 变频器 RSTT4 K4 T2 470 M10 变频器正 转 SETM200 M11 变频器反 转 475D=D153H168 T3 M16 频率2写入 变频器 RSTT2 K4 T3 493D=D153H1518 T4 M14 频率1写入 变频器 RSTT3 K2 T4 511 M14 频率1写入 变频器 MOVK1500D150 频率设置 值 518 M16 频率2写入 变频器 MOVK3000D150 频率设置 值 525 M17 频率3写入 变频器 MOVK5000D150 频率设置 值 532 M14 频率1写入 变频器 MOVH45D3 指令代码 M16 频率2写入 变频器 MOVH44D4 指令代码 M17 频率3写入 变频器 MOVH30D5 等侍时间 ASCID150 频率设置 值 D6 校验码 K4 RSTZ0 MOVK8D20 和校验字 节的数量 MOVK4Z1 RSTD21 576 M36 SETM8122 發送參數 M37 RSTM1 M38 M10 变频器正 转 M11 变频器反 转 M12 变频器停 止 M14 频率1写入 变频器 M13 加速时间 设置 M15 减速时间 设置 M16 频率2写入 变频器 M17 频率3写入 变频器 593 M8123 发送完毕 RSTM8123 发送完毕 596 M8000 HEXD113D155 运行频率 读取 K4 FLTD155 运行频率 读取 D155 运行频率 读取 HEXD123D161 运行电流 读取 K4 FLTD161 运行电流 读取 D161 运行电流 读取 HEXD131D163 运行状态 读取 K4 MOVD163 运行状态 读取 K2M50 变频器运 行中 MOVK100D157 FLTD157D159 DEDIVD155 运行频率 读取 D159D502 DEDIVD161 运行电流 读取 D159D500 669 M50 变频器运 行中 Y000 671 M51 变频器正 转运行中 Y001 673 M52 变频器反 转运行中 Y002 675END 。

下载提示
相似文档
正为您匹配相似的精品文档