文档详情

预防艾滋病、梅毒和乙肝母婴传播服务流程图

新**
实名认证
店铺
DOC
406.50KB
约10页
文档ID:507941480
预防艾滋病、梅毒和乙肝母婴传播服务流程图_第1页
1/10

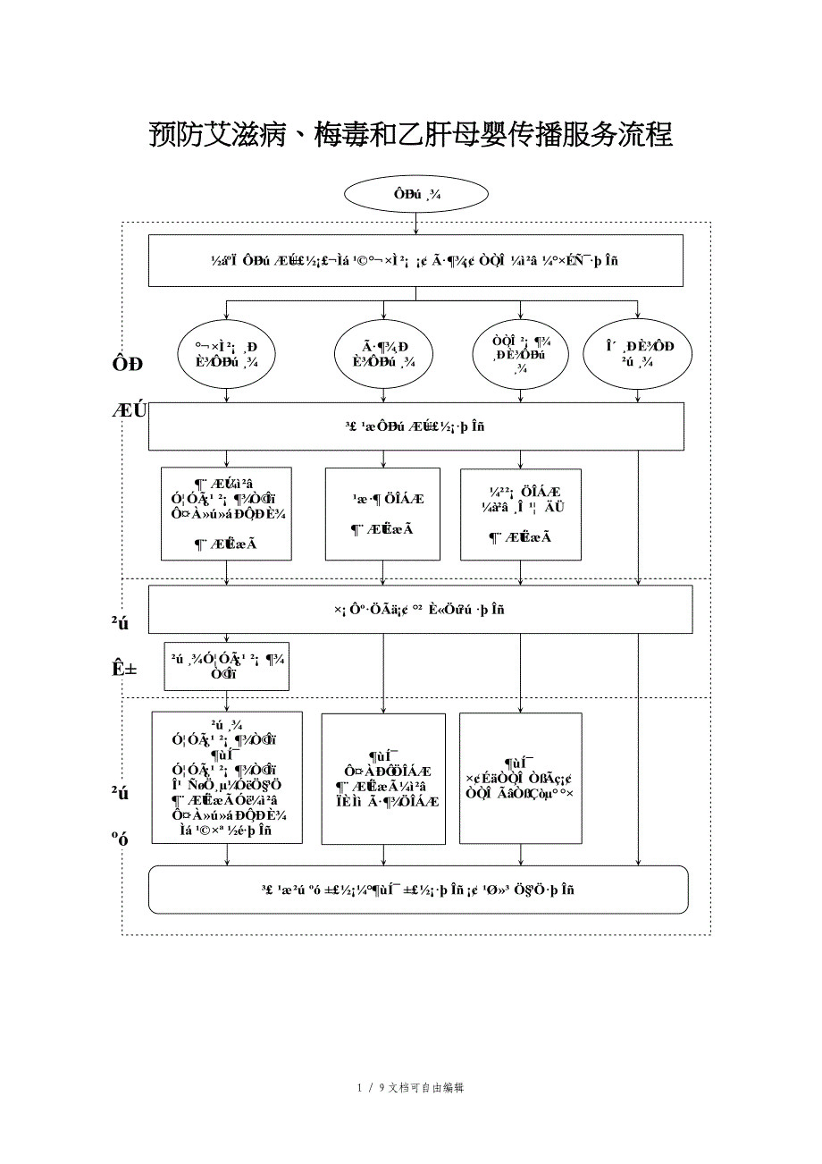
预防艾滋病、梅毒和乙肝母婴传播服务流程孕产妇艾滋病抗体检测及服务流程 确认试验、CD4T淋巴细胞计数及病毒载量检测均在疾控中心进行孕期每三个月和产后4-6周 对孕产妇各进行一次CD4T淋巴细胞计数的检测,同时在发现孕产妇感染艾滋病时和孕晚期各进行一次病毒载量的检测孕期末艾滋病抗体检测及服务流程(适用于孕期未接受HIV检测的产妇) 艾滋病感染孕产妇所生儿童艾滋病感染早期诊断检测及服务流程艾滋病感染产妇所生新生儿新生儿护理、应用抗病毒药物、对家长进行喂养指导、营养咨询等,定期随访、体格检查及生长发育监测出生后六周采集第一份血样本制备成滤纸片干血斑(DBS)将干血斑转运到性艾中心参比实验室进行早期诊断阳性反应阴性反应尽快采集第二份血样本,送检婴儿满三个月,再次采集血样本,送检阳性反应呈阳性反应阳性反应阴性反应报告“HIV感染早期诊断检测结果阳性”尽快再次采集血样本,送检阳性反应阴性反应报告“婴儿HIV感染早期诊断检测结果阴性”诊断儿童HIV感染,提供转介服务,随访并监测病情按照未感染儿童处理,继续提供儿童保健及随访服务艾滋病感染孕产妇所生儿童艾滋病抗体检测及服务流程各级医疗保健机构应在艾滋病感染确诊孕产妇后、感染孕产妇分娩后及感染孕产妇所生儿童满1、3、6、9、12和18月龄时分别进行随访,并上报个案卡,共8张个案卡孕产妇梅毒检测及服务流程梅毒阳性孕妇每月监测RPR1次,监测治疗效果梅毒感染孕产妇所生儿童的随访与先天梅毒感染状态监测梅毒阳性孕产妇所生儿童随访时间3、6、9、12、15、18月龄*非梅毒螺旋体试验包括RPR、TRUST等方法#梅毒螺旋体试验包括TPPA、TPHA及应用该原理的快速检测等方法 / 文档可自由编辑孕产妇乙肝检测及服务流程乙肝母婴乙肝表面抗原或乙肝两对半化验(首次产检)阳性孕妇:1. 监测肝脏功能2. 治疗、营养支持、指导婴儿:1.出生后24小时内接种第一剂乙肝疫苗10微克2.满月接种第二剂乙肝疫苗10微克3.满6个月接种第三剂乙肝疫苗10微克4.出生6小时内注射(至少24小时内)乙肝免疫球蛋白100国际单位,越早效果越好(学习的目的是增长知识,提高能力,相信一分耕耘一分收获,努力就一定可以获得应有的回报)。

下载提示
相似文档
正为您匹配相似的精品文档